Лабораторная работа № 9
Измерение спектрального состава электрических сигналов.
Цель работы- ознакомление с принципами измерения спектрального состава электрических сигналов, получение навыков работы с анализаторами спектра, измерение спектрального состава электрических сигналов.
Программа работы.
Основные положения.
Спектральный состав электрических сигналов. Для анализа формы электрических
сигналов широко используют измерение их спектрального состава (частотного).
Сложные периодические сигналы полностью описываются амплитудами и фазами их
спектральных составляющих, однако в большинстве случаев достаточно иметь информацию
об амплитуде и частоте составляющих спектра сигнала, т.е. об амплитудно-частотном
спектре.
Теоретически спектральный состав периодического сигнала
можно определить в результате разложения его в ряд Фурье:
![]() |
(1) |
где A0 - постоянная составляющая сигнала, Ак - амплитуда
к - й гармоники,
- начальная
фаза к - й гармоники, W -частота первой (основной) гармоники, к - порядковый
номер гармоники.
Из выражения (1) следует, что спектр периодического сигнала является дискретным
или линейным. В общем случае периодический сигнал содержат не зависящую от времени
постоянную составляющую A0 и бесконечный набор гармонических колебаний
называемых гармониками, с частотами
кратными основной частоте периодической последовательности
.
Постоянную составляющую сигнала определяют как его среднее значение за время, равное периоду Т:
![]() |
(2) |
Амплитуды отдельных гармоник определяют по формуле
![]() |
(3) |
где


Зависимость амплитуды Ак от частоты
представляет собой амплитудно-частотный спектр и графически изображается в виде
спектральной диаграммы, приведенной на рис. 1.
Кроме амплитудного спектра теоретически можно определить и фазовый спектр,
который представляет собой зависимость начальных фаз
от частоты
. Начальные фазы отдельных
гармоник рассчитываются по формуле
![]() |
(4) |

Рис.1

Рис.2
В табл.1 приведены амплитудные спектры некоторых периодических сигналов.
Таблица 1
Исходный сигнал |
Амплитудный спектр |
Прямоугольный импульсы |
![]() |
Амплитудно-модулированный сигнал |
![]() |
Амплитудно-манипулированный сигнал |
![]() |
Непериодические сигналы в отличие от периодических имеют непрерывный спектр,
т.е, в их составе присутствуют все частоты без исключения. Однако амплитуды
отдельных спектральных составляющих в таких сигналах бесконечно малы, поэтому
их спектральный состав описывают не амплитудами отдельных гармоник, а спектральной
плотностью Х(
) , под которой понимают отношение приращения
амплитуды
А к приращению частоты
на некоторой частоте
, т.е.
![]() |
(5) |
Теоретически комплексную спектральную плотность непериодического сигнала, x(t) можно определить с помощью интеграла Фурье.
![]() |
(6) |
При этом комплексная спектральная плотность (6) несет информацию не только об амплитудах, но и о фазах спектральных составляющих сигнала. Амплитудный спектр сигнала x(t) определяется модулем спектральной плотности (6)
![]() |
(7) |
где
![]() |
(8) |
![]() |
(9) |
Кроме спектральной плотности амплитуд теоретически можно определить спектральную плотность фаз
![]() |
(10) |
Приборы для анализа спектра электрических сигналов, или спектроанализаторы, предназначены для исследования амплитудно-частотного спектра периодических электрических сигналов. По принципу действия эти приборы можно разделить на приборы параллельного, последовательного и последовательно-параллельного анализа.
Структурная схема параллельного спектроанализатора приведена на рис.2. Исследуемый
электрический сигнал подводится к ряду параллельно включенных электрических
фильтров
, каждый из которых выделяет из спектра
сигнала только одну гармонику. На выходе фильтров включены индикаторы амплитуды
гармоник
, на которых можно увидеть значения амплитуд
отдельных гармоник.
Точность измерения частот спектральных составляющих определяется полосой пропускания каждого фильтра. Практически полосы пропускания соседних фильтров несколько перекрываются, как показано на рис.3, поэтому при измерении спектра при помощи фильтров можно определять амплитуды сигналов в некоторой полосе частот, совпадающей с полосой пропускания фильтра. Для повышения точности анализа полосу пропускания фильтров делают возможно более узкой, однако при этом резко увеличивается необходимое количество фильтров, что существенно усложняет аппаратуру.
Структурная схема последовательного спектроанализатора приведена на рис.4.
Исследуемый электрический сигнал x(t) подводится к смесителю СМ, в котором осуществляется
перемножение сигнала x(t) с гармоническим сигналом
,
поступающим от гетеродина Г . Полосовой фильтр ПФ выделяет из спектра на выходе
смесителя сигнал, частота которого равна разности частоты гармоники входного
сигнала и частоты гетеродина. Изменяя частоту гетеродина, можно измерить амплитуды
всех гармоник сигнала x(t). На выходе полосового фильтра ПФ включен индикатор,
в качестве которого наиболее часто используют электроннолучевую трубку (ЭЛТ).

Рис.3

Рис.4
И если исследуемый сигнал x(t) имеет спектральный состав, определяемый выражением

а гармонический сигнал гетеродина равен

то сигнал на выходе смесителя определяется выражением

Составляющая сигнала
, для которой выполняется
условие

где
- частота фильтра, проходит на выход фильтра и
индицируется на экране ЭЛТ.
Изменение частоты гетеродина позволяет при постоянной частоте фильтра выделять из спектра сигнала x(t) гармоники с порядковым номером
Для определения частоты каждой составляющей спектра перестройка частоты гетеродина согласована во времени с горизонтальным перемещением луча электронно-лучевой трубки. Для этого используют единый генератор развертки ГР, обеспечивающий перестройку гетеродина синхронно, с перемещением луча по экрану. Структурная схема последовательного спектроанализатора с электроннолучевой трубкой приведена на рис.5.

Рис.5

Рис.6
Таким образом, в последовательном спектроанализаторе последовательно выделяются частотные составляющие спектра исследуемого сигнала при помощи не перестраиваемого полосового фильтра ПФ. Однако при быстром изменении частоты гетеродина напряжение на выходе полосового фильтра не успевает устанавливаться и возникает специфическая погрешность, обусловленная динамическим режимом измерения. Для снижения динамической погрешности перестройка гетеродина проводится очень медленно, что приводит к увеличению времени анализа.
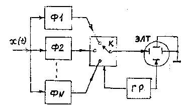
Структурная схема последовательно-параллельного спектроанализатора приведена
на рис.6. Исследуемый сигнал x(t) подводится, как и в параллельном спектроанализаторе,
к ряду полосовых фильтров
. Однако для получения
изображения спектра на экране электронно-лучевой трубки (ЭЛТ) выходы фильтров
подключаются поочередно при помощи коммутатора К. Таким образом, исключаются
нестационарные режимы обусловленные перестройкой гетеродина, и уменьшается время
анализа.
Последовательно-параллельный анализатор спектра повышенной точности требует большого количества фильтров, полосы которых не должны практически перекрываться. Ширина полосы пропускания отдельных фильтров определяет погрешность измерения частоты гармонических составляющих.
Основные технические характеристики последовательного спектроанализатора.
К основным техническим характеристикам последовательного спектроанализатора
относят: диапазон частот F, анализируемого сигнала, полосу обзора FК
, полосу пропускания
F фильтра, время анализа
,
погрешности измерения частоты
и амплитуды
спектральных составляющих.
Диапазон частот P анализируемого сигнала характеризует полосу частот, в которой
могут быть определены гармоники. Этот диапазон в приборе разделен на участки
FK , которые называют полосами обзора. В пределах полосы обзора FK
из спектра исследуемого сигнала выделяют отдельные гармоники с разрешающей способностью,
равной полосе пропускания
F фильтра.
Для анализа спектра в полосе частот
F требуется время
Время анализа в полосе частот
F анализируемого сигнала
увеличивается соответственно в F/
F раз и равно

В связи с этим последовательный анализ при полосе пропускания
практически не используют из-за большого времени анализа. Это обстоятельство
ограничивает нижний частотный диапазон последовательных анализаторов значениями
5,....., 10 Гц.
В последовательных анализаторах погрешности измерения частоты и амплитуды спектральных составляющих можно разделить на статические и динамические. Статические погрешности обусловлены неточной установкой частоты гетеродина, неравномерностью амплитудно-частотной характеристики смесителя, погрешностью отсчетных делителей и погрешностью шкалы индикатора.
Динамические погрешности обусловлены перестройкой частоты гетеродина в пределах полосы обзора. При изменении частоты гетеродина изменяется разностная частота на входе полосового фильтра ПФ, и амплитуда напряжения на выходе фильтра не успевает достигнуть установившегося значения. Это приводит к деформации амплитудно-частотной характеристики фильтра, которая характеризуется относительным изменением максимума частотной характеристики фильтра

и относительным смещением частоты максимума

относительно статической характеристики фильтра, где
частота динамической характеристики ПФ;
- частота
статической характеристики ПФ;
- значение максимума
динамической частотной характеристики ПФ;
- значение
максимума статической частотной характеристики ПФ.
Полоса пропускания фильтра в динамическом режиме также изменяется, что характеризуется относительным ее расширением

где
- полоса пропускания ПФ в динамическом режиме;
- полоса пропускания ПФ в статическом режиме.
Анализатор спектра С4-25 предназначен для наблюдения и измерения спектров периодических модулированных и немодулированных сигналов. Основные технические характеристики прибора приведены в табл.2.
Таблица 2
Характеристика |
Значение характеристика |
Диапазон частот |
20 кГц – 50 кГц |
Полоса пропускания ![]() |
3-70 кГц регулируемая и 300 кГц нерегулируемая |
Полоса обзора ![]() |
0…3 мГц, 3…50 мГц |
Погрешность измерения частоты |
0,01 -интервал между
двумя метками |
Погрешность измерения амплитуды |
10% при линейной шкале,15% при квадратичной шкале
5 дБ при логарифмической шкале |
Время развертки |
0,02 …3 с |
Постоянная время детектора |
0,03…3 мс |
Структурная схема прибора приведена на рис. 7. Исследуемый сигнал x(t) через входной делитель ВД и фильтр нижних частот ФНЧ поступает на смеситель СМ, где преобразуется в частоту 108 МГц. Гетеродин Г1 перестраивается в диапазоне частоты от 108 до 158 МГц. Полоса обзора определяется диапазоном изменения частоты гетеродина и изменяется в пределах от 0 до 50 МГц. Это позволяет просматривать спектр во всем диапазоне частот, при необходимости исследовать его более подробно на любом участке диапазона прибора.

Рис. 7.
Для снижения помех от преобразователя частоты в приборе использовано двойное преобразование частоты при помощи второго смесителя СМИ и второго гетеродина Г2, работающего на частоте 100 МГц. На выходе второго смесителя образуется сигнал с частотой 8160 кГц, который проходит через полосовой фильтр ПФ с полосой пропускания 300 кГц или кварцевый фильтр КФ с регулируемой полосой пропускания в пределах от 3 до 70 кГц.
После фильтрации сигнал детектируется детектором Д, усиливается усилителем У и поступает на вертикальные отклоняющие пластины электронно-лучевой трубки ЭЛТ. Генератор развертки ГР обеспечивает изменение частоты гетеродина Г1 и синхронную с ним развертку луча ЭЛТ.
Измерение частоты и частотных интервалов проводится с помощью меток, в качестве которых используются спектральные составляющие калибратора К . Фиксированные интервалы между метеками 0,1, I и 10 МГц определяются по шкале с помощью переключателя меток. Основные органы управления анализатора спектра и их назначение приведено в табл.3.
Таблица 3.
Орган управления |
Назначение |
Центральная частота |
Перестройка частоты настройки прибора в пределах от
20 кГц до 50 МГц |
Обзор |
Грубое и плавное изменение полосы обзора в пределах
от 0 до 50 МГц |
Полоса пропускания |
Изменение полосы пропускания: фиксирования полоса
300 кГц или плавно регулируемая полоса – 3-70 кГц |
Развертка |
Изменение скорости развертки. В положение ВЫКЛ развертка
выключается |
Верт. Масштаб |
Изменение масштаба индикатора по вертикальной оси |
детектора |
Изменение постоянной времени детектора. При увеличение
постоянной времени уменьшается уровень шумов без изменения среднего уровня |
Чувствительность |
Изменение ослабления входного делителя |
Отсчет амплитуд |
Относительное изменение уровня составляющий спектр |
Порядок выполнения работы
1. Проверка основных характеристик анализатора спектра С4-25. При проверке прибора С4-25 проводится: 1) калибровка вертикальной масштабной сетки электронно-лучевой трубки, 2) калибровка отсчетного аттенюатора канала вертикального отклонения, 3) определение частотной погрешности отсчета амплитуд составляющих спектра , 4) определение погрешности установки частотных интервалов, 5) определение полосы обзора.
Калибровку вертикальной масштабной сетки ЭЛТ выполняют по схеме, приведенной на рис.8. При калибровке определяется погрешность отсчета уровней по вертикальной масштабной сетке ЭЛТ. Калибровка выполняется в следующей последовательности: ручку ВЕРТ. МАСШТАБ установить в положение "ЛИН."; ручками ПОЛОСА ПРОПУСКАНИЯ установить полосу пропускания в пределах 5...15 кГц; ручки детектора, установить в положение "0,1 мс"; ручки ОТСЧЕТ АМПЛИТУД установить в положение "-10 дБ"; ручку РАЗВЕРТКА установить в положение "0,1 с"; на выходе генератора Г4-102 установить сигнал с частотой 1,0 МГц и напряжением 100 мВ; ручками ЦЕНТР. ЧАСТОТА установить отклик сигнала в центр экрана ЭЛТ и при помощи ручки ЧУВСТВИТЕЛЬНОСТЬ установить амплитуду отклика сигнала, равную вертикальному размеру масштабной сетки ЭЛТ; изменяя выходное напряжение генератора, определить значения напряжения, соответствующие отсчетным уровням на масштабной сетке ЭЛТ, и занести их в ф.1;. рассчитать погрешность отсчета амплитуд по масштабной сетке ЭЛТ, пользуясь формулой


Рис.8

Рис.9
Форма 1.
| Уровни масштабной сетки ЭЛТ, дБ | 0 | -3 | -6 | -10 | -20 |
Расчётное значение напряжения , мВ |
100 | 71 | 50 | 33 | 10 |
Измеренное значение напряжение , мВ |
|||||
Погрешность отсчета амплитуд , % |
1.2. Калибровку отсчетного аттенюатора канала вертикального отклонения выполняют по схеме, изображенной на рис.8. При калибровке определяется погрешность отсчетного аттенюатора следующим образом: ручками ОБЗОР установить полосу обзора в пределах 3 ....5 МГЦ; ручками ПОЛОСА ПРОПУСКАНИЯ установить полосу пропускания о пределах 3 ... 5 кГц; ручки ОТСЧЕТ АМПЛИТУД установить в положение "0 дБ"; ручки РАЗВЕРТКА установить а положение "0,3 с"; на выходе генератора Г4-102 установить сигнал с частотой 1 МГц и напряжением 300 мВ; ручкой ЧУВСТВИТЕЛЬНОСТЬ установить отклик сигнала, равный вертикальному размеру масштабной сетки ЭЛТ; изменяя положение ручки ОТСЧЕТ АМПЛИТУД, как указано в ф.2, определить выходное напряжение генератора Г4-102, необходимое для поддержания отклика сигнала, равного вертикальному размеру масштабной сетки ЭЛТ, и результаты занести в ф.2; рассчитать погрешность отсчетного аттенюатора по формуле

Формула 2
| Положение ручек ОТСЧЕТ АМПЛИТУД, дБ | 0 | -10 | -20 | -30 | -40 | -50 | -55 |
Расчётное значение напряжения , мВ. |
300 | 95 | 20 | 9,5 | 3 | 0,95 | 0,53 |
Измененное значение напряжения , мВ |
|||||||
Погрешность отсчетного аттенюатора , % |
1.3. Определение частотной погрешности отсчета амплитуд составляющих спектра производится по схеме, изображенной на рис.8, в следующей последовательности: ручку ВЕРТ.МАСШТАБ установить в положение "ЛИН."; ручки ОБЗОР установить в крайнее правое положение, соответствующее полосе обзора 50 МГц; ручку РАЗВЕРТКА установить в положение 0,3 с"; ручку ***** ДЕТЕКТОРА установить в положение "0,1 мс"; ручки ПОЛОСА ПРОПУСКАНИЯ установить в положение 300 кГц; на выходе генератора ; Г4-102 установить сигнал с частотой 4 МГц и напряжением 100 мВ ручками ЦЕНТР ЧАСТОТА установить отклик сигнала в крайнее левое положение на экране ЭЛТ; ручкой ЧУВСТВИТЕЛЬНОСТЬ установить амплитуду отклика на отметку 1,0 вертикальной шкалы ЭЛТ; изменяя частоту генератора Г4-102, определить амплитуду отклика на экране ЭЛТ и результаты измерения занести в ф.З; рассчитать частотную погрешность по формуле

и результаты вычислений занести в ф.3
Форма 3
Частота сигнала , МГц |
4 | 6 | 10 | 20 | 30 | 40 | 50 |
| Амплитуда отклика А, дел | |||||||
Погрешность , % |
1.4. Определение погрешности установки частотных интервалов выполняется по схеме, приведенной на рис.9. Для определения погрешности необходимо выполнить следующие действия: ручками ПОЛОСА ПРОПУСКАНИЯ установить полосу пропускания, равную 3 кГц; ручку РАЗВЕРТКА установить в положение "0,1 с"; ручку ***** ДЕТЕКТОРА установить в положение "0,1 мс"; ручки ОТСЧЕТ АМПЛИТУД установить в положение "-10 дБ*; ручками ОБЗОР установить полосу обзора 3 МГц; не подавая сигнал от генератора Г4-102, ручкой МЕТКИ установить частоту меток 1 МГц и при помощи ручек ЦЕНТР.ЧАСТОТА получить изображение не менее трех сеток на экране ЭЛТ; ручкой НЕСУЩАЯ МЕТОК установить нуль на шкале и, вращая ее при нулевом положении на шкале, получить четкое изображение меток 1 МГц; ручкой АМПЛИТУДА МЕТОК установить размах меток на экране ЭЛТ от 1 до 4 делений; на выходе генератора Г4-102 установить сигнал с частотой 1 МГц и напряжением 100 мВ; изменяя частоту генератора Г4-102, совместить отклик сигнала с первой меткой на экране ЭЛТ; измерить частоту сигнала на выходе генератора при помощи частотомера и результаты измерения занести в ф.4; изменить чистоту генератора до совпадения отклика сигнала с метками 2 и 3 МГц соответственно и результаты измерения частоты занести а ф.4; рассчитать погрешность измерения частоты по формуле

Результаты занести в ф.4.
Форма 4
Частота меток , МГц |
1 | 2 | 3 |
Измененная частота , МГц |
|||
Погрешность отсчёта частота , % |
1.5. Измерение полосы обзора проводят по схеме, приведенной на рис.9. Полоса обзора определяется в диапазоне 3...50 МГц в двух крайних положениях ручки плавной регулировки полосы обзора. Полоса обзора определяется при помощи меток 1 МГц аналогично тому, как описано в п.1.4. Измеренные значения полосы обзора заносят в ф.5.
Форма 5
Установленная полоса обзора , МГц |
3 | 50 |
Измененная полоса обзора , МГц |
2. Измерение спектрального состава периодических импульсных сигналов выполняют по схеме, приведенной на рис.10. На вход анализатора спектра С4-25 подают симметричные прямоугольные импульсы от генератора ГЗ-112 с частотой 100 кГц и напряжением 100 мВ, спектральный состав которых определяют следующим образом: ручку МЕТОК - установить в положение "0,1 МГц"; ручками ОБЗОР установить полосу обзора 0,5 ... 0,7 МГц; с помощью ручек ЦЕНТР.ЧАСТОТА получить изображение спектра сигнала и меток на экране ЭЛТ; с помощью ручки ЧУВСТВИТЕЛЬНОСТЬ установить размах амплитуды первой гармоники на отметку 1,0 на экране ЭЛТ; измерить амплитуды отдельных гармоник и результаты измерений занести в ф.6; рассчитать относительное отклонение спектрального состава по формуле.


Рис.10

Рис.11
Форма 6
| Порядковый номер гармоники k | 1 | 2 | 3 | 4 | 5 | 6 | 7 |
Расчетное значение амплитуды , дел |
1 | 0 | 0,33 | 0 | 0,2 | 0 | 0,14 |
Измеренное значение амплитуды , дел |
|||||||
Относительное отклонение , % |
Примечание. Для измерения амплитуды высших гармоник можно использовать аттенюатор прибора С4-25, обозначенный ОТСЧЕТ АИПЛИТУД.
3. Измерение спектрального состава амплитудно-модулированных сигналов выполняют по схеме, приведенной на рис.11. Амплитудно-модулированный сигнал получают путем модуляции высокочастотных колебаний генератора Г4-102 выходным напряжением генератора ГЗ-112. Используются два вида модуляции: синусоидальным и прямоугольным выходным напряжением генератора ГЗ-112. Форма модулированного напряжения генератора регистрируется с помощью осциллографа С1-69. Вид модулированного колебания и его спектральный состав приведены в табл.1. Для измерения спектрального состава модулированных сигналов необходимо проделать следующее: установить на генераторе Г4-102 выходной гармонический сигнал с частотой 200 кГц и напряжением 100 мВ; установить на генераторе ГЗ-112 выходной сигнал с частотой 10 кГц; изменяя выходное напряжение генератора ГЗ-112, установить на экране осциллографа амплитудно-модулированный сигнал с глубиной модуляции 100 %
Глубину модуляции рассчитывают по формуле

где А0 - амплитуда немодулированного несущего колебания;
А
- амплитуда модулирующего колебания (в делениях шкалы ЭЛТ); используя метки
0,1 МГц, установить на приборе С4-25 при помощи ручек ОБЗОР и ЦЕНТР.ЧАСТОТА
полосу обзора 300 кГц; установить ручку ДЕТЕКТОРА в положение "0,03 мс";
установить ручку РАЗВЕРТКА в положение "0,1 с"; используя ручку ЧУВСТВИТЕЛЬНОСТЬ,
установить размах несущей на экране ЭЛТ на отметку "1,0"; измерить
амплитуды боковых полос и результаты измерений занести в ф.7; изменяя глубину
модуляции при помощи выходного напряжения генератора ГЗ-112 и измеряя амплитуду
боковых полос, заполнить ф.7.
Форма 7
| Глубина модуляции m, % | 0 | 20 | 40 | 60 | 80 | 100 |
| Расчетное значение амплитуды боковых полос, дел | 0 | 0.1 | 0.2 | 0.3 | 0.4 | 0.5 |
| Исследуемое значение амплитуды боковых полос, дел |
Аналогичные исследования повторить для сигнала, модулированного последовательностью прямоугольных импульсов (амплитудно-манипулированного сигнала). Для этого надо на приборе ГЗ-112 установить выходные прямоугольные импульсы при помощи переключателя формы сигнала. Контроль глубины модуляции проводится при помощи осциллографа. Результаты измерений занести в ф.8.
Форма 8
| Глубина модуляции m, % | 0 | 20 | 40 | 60 | 80 | 100 |
Амплитуда первой боковой полосы , дел |
||||||
Амплитуда второй боковой полосы , дел |
При измерении амплитуд второй боковой полосы можно использовать аттенюатор прибора С4-25, обозначенный ОТСЧЕТ АМПЛИТУД.
Содержание отчёта.
Контрольные вопросы
Литература